电流互感器的作用是什么?这篇讲透了
1、什么是电流互感器?
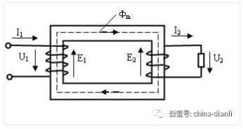
把大电流按规定比例转换为小电流的电气设备,称为电流互感器。电流互感器有两个绝缘的线圈,套在一个闭合的铁芯,电流互感器的一次线圈匝数较少,二次线圈匝数较多。请点击此处输入图片描述
在连接方向正确时,二次电流对一次电流的相位差接近于零。请点击此处输入图片描述
一次与二次之间按相应的绝缘水平进行绝缘,以保证所有低压设备与高电压相隔离。电流互感器一次绕组连接在电力系统中,二次绕组连接测量仪器或继电保护、自动控制装置。通常二次绕组的一端接地。电流互感器和普通变压器相比,在原理方面有什么特点?
请点击此处输入图片描述
当一次线圈通过电流时,铁芯中产生交变磁通,此交变磁通在二次闭合回路中感应出电势、电流。电流互感器二次额定电流规定分为5A或1A.电流互感器的作用
(1)将一次回路的大电流变为二次回路标准的小电流,使测量仪表和保护装置标准化、小型化,并使其结构轻巧、价格便宜,并便于屏内安装。请点击此处输入图片描述
(2)隔离高压电路。电流互感器一次侧和二次侧没有电的联系,只有磁的联系。使二次设备与高电压部分隔离,且电流互感器二次侧均接地,从而保证了设备和人身的安全。请点击此处输入图片描述
- 电流互感器二次所串联的负荷如电流表、电力表及继电器的电流线圈,阻抗很小,因而电流互感器正常工作近似短路状态。
- 变压器的一次电流随二次电流变化而变化,二次电流起主导作用;电流互感器的一次电流决定于一次电流的负荷,和二次无关,二次电流决定于一次电流,所以是一次起主导作用。
请点击此处输入图片描述
主磁通又决定了二次电势,因此,主磁通不变二次电势也基本不变。电流互感器则不一样,当二次回路阻抗变化时,二次电势也会变化。在一次电流作用下,二次阻抗、励磁电流、二次电势和二次电流这几个量是互为因果关系。请点击此处输入图片描述
4,变压器二次负载增加,对各个电量影响很大;而电流互感器二次所串的电流线圈是其二次负荷,因而线圈阻抗很小,所以多串几个或少串几个对其二次电流影响不大。但这一结论只使用于在电流互感器额定负荷内,一旦负荷增大超过准确都允许范围内,也会影响二次电流,且使误差增加到不能允许的程度。请点击此处输入图片描述
电流互感器的等级分为0.2 0.5 1 3 10 等五个等级。